一、撕裂度测试
撕裂度是指将预先切口的纸(或纸板),撕至一定的长度所需要力的平均值,单位是毫牛顿(mN)。纸和纸板抵抗撕裂时的力主要表现为两个部分,一部分是纤维与纤维间的结合力,撕力要克服结合力而把纤维拉出;另一部分来自纤维本身强度。这二者的结合,使试样体现出耐撕裂的能力。因此,撕裂度这一特性作为纸和纸板一项主要强度性能指标被广泛使用。若起始切口是纵向的,则所测结果是纵向撕裂度;若起始切口是横向的,则所测结果是横向撕裂度。产品标准一般要求测试跟定量有关的横向撕裂度指数。
撕裂度按照国标GB/T455-2002《纸和纸板撕裂度的测定》 的规定进行。该标准修改采用ISO 1974:1990。主要适用于低定量纸板和瓦楞原纸,不适用于瓦楞纸板和高度定向的纸张。
二、参考方法标准
GB/T 455、ISO 1974
三、检测原理
具有规定预切口的一叠试样(通常4层),用一垂直于试样面的移动平面摆施加撕力,使纸撕开一个固定距离。用摆的势能损失来测量在撕裂试样的过程中所做的功。

图1 撕裂度的撕裂原理
四、检测设备
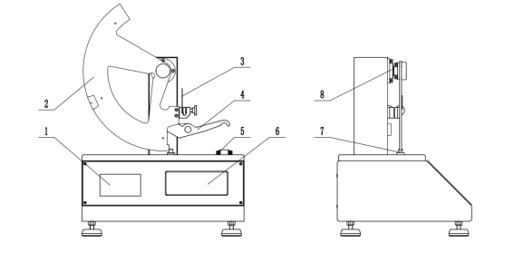
撕裂度仪由机架、摆锤、硬件电路、编码器、显示屏及WiFi联网模块部件组成。电脑纸张撕裂度仪(以PN-TT1000F智能机型为例)外形结构如图2所示。
1-打印机 2-摆 3-试样 4-切试样把手 5-水平泡 6-显示屏 7-停止器 8-编码器
图2 PN-TT1000F 电脑纸张撕裂度仪
摆锤安装在旋转编码器上,使其围绕自由摆动。试样夹持在两夹子之间,其中一个夹子固定在机架上,另一个在摆上,试样被夹持住。试验前将摆锤置于两夹子成水平的初始位置上,用停止器固定。用枢轴上的刀预切试样,切口长度为20mm。
撕裂度仪的结构特性应满足表1参数。
表1 撕裂度仪结构特性参数
撕裂力臂/mm | 撕裂角度/° | 撕裂距离/mm | 初切长度/mm | 试样尺寸/mm | 夹纸器夹纸面尺寸/mm | 夹纸器间距离/mm |
104±1 | 27.5±0.5 | 43±0.5 | 20 | 63×50 | 25×15 | 2.8±0.3 |
五、测试过程
(一)试样采取和处理
试样采取按GB/T 450进行,处理按GB/T 10739进行,并在此大气条件下进行试样制备和试验。
(二)试样制备
试样的大小应为(63士0.5)mm×(50士2)mm,应按样品的纵横向分别切取试样。如果纸张纵向与样品的短边平行,则进行横向试验,反之进行纵向试验。每个方向应至少做5次有效试验。
(三)测试
(1)仪器调水平
将仪器放在坚固无振动的台子上,调节仪器的底脚使水平泡居中。
(2)选择档位
根据试样选择合适档位,使结果在20%~80%范围内。
(3)参数设置
设置撕裂方向、撕裂层数和试样定量(用于计算撕裂指数)。
(4)夹紧试样
将试样一半正面对着刀,另一半反面对着刀。试样的侧面边缘应整齐,底边应完全与夹子底部相接触,并对正夹紧。
(5) 测试
将摆升至初始位置并固定。用切刀将试样切一整齐的刀口,切口长度20mm,使被撕开的距离是(43士0.5)mm。
图3 纸张撕裂度测试设备
按【测试】键,释放摆锤,试样被撕裂,测试结束,屏幕显示测试结果。
六、结果计算及分析
(一)结果计算
Ø 撕裂度
按式(1)计算撕裂度:
式中:
F总——撕裂度,mN;
S——总撕裂力值,mN;
n——试样的层数。
Ø 撕裂指数
按式(2)计算撕裂指数:
式中:
F——撕裂度,mN;
X——撕裂知识,mN·m2/g;
g——试样的定量。
(二)结果分析
当实验中有1~2个试样的撕裂线末端与切口延长线的左右偏斜超过10mm,应舍弃不计,重复试验,直到得到5个满意的结果为止。如果有两个以上的试样偏斜超过10mm,其结果可以保留,但应在报告中注明偏斜情况。如在撕裂过程中,试样产生剥离现象,而不是正常方位上撕裂,应按上述撕裂偏斜情况处理。
偏斜的撕裂 正常的撕裂
测定层数应为4层,如果得不到满意的结果,可适当增加或减少层数,但应在报告中加以说明。
测试撕裂度的影响因素:①相对湿度,对于一般强度性质的影响,都是湿度提高强度降低,而撕裂度却是随着相对湿度的增大而增大,在相对湿度65%时的撕裂度要比相对湿度50%时高出12%左右;②仪器精度的影响,例如摆轴的摩擦阻力,预切口的情况都有显著影响,一般情况下,由仪器精度所引起的总误差小于1%;③不同层数,有些纸紧度高,纤维内部结合力强,在撕裂的方向上和撕裂的层数上,都是沿着直线撕裂的,基本上不受撕裂层数的影响,有些纸紧度低,纤维结合力差,在1层~ 10层进行撕裂度测试时,发现层数少,撕裂度低,随着层数的增加,撕裂度增加。
七、可能的错误操作及误差来源
(一) 可能的错误操作
(1)开机直接测
本仪器属于电子仪器,测量前要预热30min以上。
(2)预切口不到位
由于试样长度是固定的,如果预切口达不到20mm,那么被撕开的距离就会超过43mm,从而造成撕裂度偏高。
(3)试样方向弄反了
一般情况横向撕裂度要大于纵向撕裂度,如果试样方向弄错,将影响测试结果。
(4)仪器未调水平
仪器是否水平直接影响试验数据的准确性。试验之前,一定要调水平。
(二) 主要误差来源
(1)测量系统校准不准确
本仪器高精密电子产品,使用一段时间后,因为电子元器件及传感器的性能会发生变化,从而影响测试结果,所以要定期进行校准。
(2)仪器的放置状态
如果仪器的水平没有调节好或试验台面不稳定(如振动或强电磁干扰)都会影响测试结果。尤其是台面倾斜的情况下,摆的重力势能会受到影响。
(3)试样的尺寸及切口
试样的尺寸为(63士0.5)mm,在63mm 的方向上预先切一个20mm 长的切口,剩余的43mm 就决定着试样撕裂距离的大小。撕裂距离越大,撕裂时所做的功越多,撕裂度就越高,反之, 切口小于20m,测定的撕裂度偏高。
(4)试样的定量
试样的定量不同,所测定的撕裂度也不同,为了消除定量对检测的影响,有些产品直接用撕裂者指数来表示产品的机械强度。
本文2024年7月,发表于《纸箱世界》杂志
