弯曲挺度是在规定的试验条件下,纸和纸板在弹性变形范围内受力弯曲时所需要的力或力矩,反映纸张的挺硬或柔软程度。弯曲挺度使纸或纸板具有了抗弯、抗压、抗扭矩的能力。作为一个重要的物理性能指标,挺度的大小与纸制品的加工成型以及应用有密切的关系。一般而言,纸板的挺度越好,纸机的运转性越好,越有利于产品的生产和处理,反之则会造成纸板的印刷褶皱,套印不准等问题。在包装纸板中,较高的弯曲挺度使纸板有一定的刚度和强度,提高了纸箱抗凸出的能力,以提升内容物的保护程度。
影响纸和纸板弯曲挺度的影响因素有很多。对纸张而言,其挺度值与原纸的弹性模量和纸张的厚度有关,其中弹性模量的大小与纸页纤维的结合力和成型技术有密切关系;对多层包装纸板而言,挺度的大小与各纸层的挺度大小有关。纸板外层纸张抗拉伸和压缩的能力对纸板挺度的影响最大,随着纸层向中性层的靠近,该纸层对挺度的作用越来越小。
用于测定纸和纸板弯曲挺度的方法有很多,如静态弯曲法(包含 Taber 法和匀速弯曲法)、Instron 法、Gurley 法、共振法、Clark法。在日常检测中,实验室多采用静态弯曲法作为挺度的测量方法。
静态弯曲法按照国标GB/T22364-2018《纸和纸板 弯曲挺度的测定》 的规定进行。该标准修改采用ISO 2493-1:2010。适用于制造纸箱和纸盒的纸和纸板。适用于弯曲挺度为20mN~10000mN的纸和纸板。
一、参考方法标准
GB/T 22364、GB/T 2679·3 、ISO 2493.1
二、检测原理
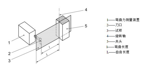
在规定的弯曲长度(50mm或10mm)下,用将一端被夹持的试样弯曲到规定角度所需的弯曲力的平均值表示弯曲挺度。
三、检测设备
试验仪由机械传动、硬件电路、传感器、显示屏、测量控制及WiFi联网模块等部件组成。电脑挺度测定仪(以PN-ST500F智能机型为例)外形结构如图1所示,测试夹具示意图如图2所示。

1-打印机 2-弯曲长度固定插销 3-距离调节旋钮 4-试样夹紧旋钮 5-显示屏 6-传感器
图1 PN-ST500F 电脑挺度测定仪

图2 电脑挺度测定仪夹具
四、测试过程
1. 试样采取和处理
试样采取按GB/T 450进行,处理按GB/T 10739进行,并在此大气条件下进行试样制备和试验。
2. 试样制备
测定纵、横向挺度时,与试样长度一致的方向为测定方向。试样的测试区域不应有褶皱、折痕肉眼可见的损伤或其他缺陷。如测试区域包含水印,应在试验报告中注明。标记试样正反面,以确保正反两面获得相同数量的测试结果。高扭曲和卷曲的试样可能得出不可靠的结果,拉直卷曲或扭曲的试样均可能对原材料造成损坏。在每个试验方向切取至少10片试样,试样宽度为38.0mm,长度至少80mm(弯曲长度为50 mm)。如使用较短的弯曲长度,试样长度应至少为40mm(弯曲长度为10mm)。
3. 测试
如需测量弯曲挺度指数,按GB/T451.2规定测定试样的定量。
在50.0mm弯曲长度下进行试验(设置弯曲长度50mm)。将试样放入夹头,确保试样对齐并以规定的自由长度伸出夹头。 将仪器的弯曲角度设定为15°(设置时间3s)。测试前不应以任何方式弯曲试样,对任何试样的测试不应超过一次。为获得准确的弯曲角度,试验前应确保刀口线与试样表面接触但不对试样施加任何力。
如果最大弯曲力在试样弯曲到15°前出现,或在测试过程中出现断裂、扭结或褶皱,应舍弃试验结果。如果超过10%的试样出现这种情况,应使用7.5°的弯曲角度,并应在试验报告中注明所使用的弯曲角度。

图3 纸和纸板弯曲挺度测试设备
按【测试】键,启动测试,弯曲至设置角度,停止测试,夹头复位,屏幕显示测试结果。
测定时试样正反面弯曲试验的数目应相同。对每个测试方向,在规定的弯曲角度下,应至少测试10个试样并得到10组有效数据。试样从仪器夹头上取下后不得再次使用。
4. 计算和结果表示
Ø 弯曲挺度
对每个试验方向,以所有弯曲力有效数据的平均值计算弯曲挺度及标准偏差。
报告每个方向的弯曲挺度,单位为牛顿(N)或毫牛顿(mN),保留三位有效数字。
Ø 弯曲挺度指数
按式(1)计算每个试验方向的弯曲挺度指数:
式中:
B1 — 弯曲挺度指数,单位为N·m6/g3;
B — 弯曲力值,单位为N;
G — 试样的定量,单位为g/m2。
报告每个试验方向的弯曲挺度指数,保留三位有效数字。
七、可能的错误操作及误差来源
7.1 可能的错误操作
7.1.1 开机直接测。
本仪器属于电子仪器,测量前要预热30min以上。
7.1.2 放置试样时,裸手拿住靠近夹头部位
不应用裸手接触试样靠近夹头部位的区域,这一区域水分含量的变化会影响到试验结果。
7.1.3 不同弯曲长度的结果相互换算
对弯曲挺度太低以至于在此弯曲长度下无法测定的试样,可使用10.0mm的弯曲长度。这种情况下,应在试验报告中注明所使用的弯曲长度。注:使用不同弯曲长度得到的结果不能相互换算。
7.1.4 试验前未进行温湿度处理
纸制品具有的亲水性的特性,其压缩性能容易受周围环境的温度、湿度的影响。
7.2 主要误差来源
7.2.1 压力测量系统校准不准确
本仪器高精密电子产品,使用一段时间后,因为电子元器件及传感器的性能会发生变化,从而影响测试结果,所以要定期进行校准。
7.2.2 取样的影响
取样的质量直接影响测试结果,取样精度越高,测试数据更准确。
本文2024年6月,发表于《纸箱世界》杂志
